Внимание! Режим работы в новогодние праздники:Подробнее

Уважаемые покупатели!

В связи с январскими праздниками наша компания будет закрыта с 1 по 11 января 2026 г.. Мы вернемся к Вам 12 января 2026 г. и с радостью продолжим нашу работу!

Все оформленные заказы в праздничные дни будут обработаны 12–13 января. Мы обязательно перезвоним и доставим все оформленные заказы!

Обращаем внимание: после новогодних праздников ожидается повышение цен от производителей по всем брендам. Пользуйтесь моментом — мы фиксируем цену на момент заказа!

Благодарим за понимание и желаем счастливых праздников и удачного Нового года!

С уважением, команда Gidro-butik

Режим работы магазина:
Пн-Пт: 9:00-18:00 Сб: 9:00-16:00 Вс: выходной

Заказы онлайн круглосуточно

Каталог
Избранное 0

Rav Slezak смесители для душа в Владимире — страница 3

219 товаров
Сортировка:
Фильтры
4.3
Артикул: MK380.5/2CMATSM
23554.30 руб
30590.00 руб

Нет на складе

4.5
Артикул: MK380.5/1CMATSM
22645.70 руб
29410.00 руб

Нет на складе

4.3
Артикул: MK380.5CMAT
15700.30 руб
20390.00 руб

Нет на складе

5.0
Артикул: MK380.5/1CMAT
22645.70 руб
29410.00 руб

Нет на складе

4.6
Артикул: MK180.5/1CMAT
17255.70 руб
22410.00 руб

Нет на складе

Нет на складе

Нет на складе

4.9
Артикул: MK580.5Z
20073.90 руб
26070.00 руб

Нет на складе

4.7
Артикул: MK580.5/2Z
27319.60 руб
35480.00 руб

Нет на складе

Нет на складе

Нет на складе

4.7
Артикул: MK380.5Z
20073.90 руб
26070.00 руб

Нет на складе

4.5
Артикул: MK380.5/2Z
27319.60 руб
35480.00 руб

Нет на складе

Нет на складе

Нет на складе

4.5
Артикул: MK180.5/2Z
18218.20 руб
23660.00 руб

Нет на складе

4.2
Артикул: MK586KSM
49726.60 руб
64580.00 руб

Нет на складе

Нет на складе

4.7
Артикул: MK580.5SM
14984.20 руб
19460.00 руб

Нет на складе

4.7
Артикул: MK580.5/2SM
23369.50 руб
30350.00 руб

Нет на складе

4.3
Артикул: MK486KSM
49726.60 руб
64580.00 руб

Нет на складе

Нет на складе

4.2
Артикул: MK480.5SM
14984.20 руб
19460.00 руб

Нет на складе

4.9
Артикул: MK386KSM
51520.70 руб
66910.00 руб

Нет на складе

Нет на складе

4.7
Артикул: MK380.5SM
16778.30 руб
21790.00 руб

Нет на складе

4.6
Артикул: MK380.5/2SM
25163.60 руб
32680.00 руб

Нет на складе

4.6
Артикул: MK186KSM
45537.80 руб
59140.00 руб

Нет на складе

Нет на складе

4.8
Артикул: MK180.5SM
10787.70 руб
14010.00 руб

Нет на складе

4.9
Артикул: MK586K
41225.80 руб
53540.00 руб

Нет на складе

4.3
Артикул: MK583
23307.90 руб
30270.00 руб

Нет на складе

5.0
Артикул: MK580.5/2
16778.30 руб
21790.00 руб

Нет на складе

5.0
Артикул: MK580.5
11804.10 руб
15330.00 руб

Нет на складе

4.5
Артикул: MK386K
41225.80 руб
53540.00 руб

Нет на складе

4.4
Артикул: MK383
23307.90 руб
30270.00 руб

Нет на складе

4.3
Артикул: MK380.5/2
16778.30 руб
21790.00 руб

Нет на складе

4.9
Артикул: MK186K
35835.80 руб
46540.00 руб

Нет на складе

4.2
Артикул: MK183
17917.90 руб
23270.00 руб

Нет на складе

4.5
Артикул: MK180.5/2
11388.30 руб
14790.00 руб

Нет на складе

4.9
Артикул: MK180.5
6414.10 руб
8330.00 руб

Нет на складе

4.7
Артикул: MS086
7191.80 руб
9340.00 руб

Нет на складе

4.5
Артикул: MS083
6945.40 руб
9020.00 руб

Нет на складе

4.8
Артикул: MS081.5/2
8516.20 руб
11060.00 руб

Нет на складе

5.0
Артикул: MS081.5
8516.20 руб
11060.00 руб

Нет на складе

4.7
Артикул: MS080.5/2
10425.80 руб
13540.00 руб

Нет на складе

4.7
Артикул: MS080.5
8154.30 руб
10590.00 руб

Нет на складе

4.5
Артикул: LR587.3Z
43612.80 руб
56640.00 руб

Нет на складе

Как сделать заказ в нашем интернет-магазине

Предлагаем посмотреть Rav Slezak смесители для душа , которые можно купить за наличные средства. Приобрести товар из каталога можно любым из вариантов:
  • Оформите заказ на сайте онлайн с помощью корзины;
  • По телефону: +7(985)250-88-11 (звонок по России бесплатный);
  • Отправив запрос на e-mail: zakaz@gidro-butik.ru (свяжемся в ближайшее время);
Оплатить можно после доставки и проверки водителю или предварительно в нашем офисе. Все позиции тщательно проверяются перед отправкой, поэтому вы получаете товар, соответствующий характеристикам, описанию и фотографиям.

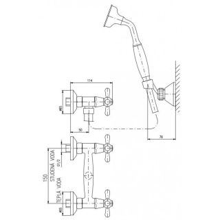
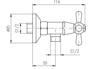
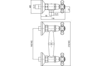
Rav Slezak смесители для душа
Три причины купить в Gidro-butik

Контроль качества

Все товары всегда проверяются перед продажей и отправкой! Наш интернет-магазин сотрудничает только с оффициальными дилерами, что гарантирует 100% качество всей продукции!

Гарантия производителя

Каждый товар имеет гарантию от производителя! Мы работаем только с проверенными зарубежными и отечественными брендами!

Удобная/быстрая доставка

При оформлении доставки наши логисты согласуют удобное время для получения и проверки товара. Мы дорожим Вашим временем!

Артикул скопирован Код товара скопирован Промокод скопирован